räuchern und garen alles in einem Gerät
Beratung und Bestellannahme
Detailbilder zum Räucherofen Detailbilder zum Räucherofen Detailbilder zum Räucherofen Detailbilder zum Räucherofen Detailbilder zum Räucherofen Detailbilder zum Räucherofen Detailbilder zum Räucherofen Rauchgenerator von der Seite Rauchgenerator von vorne Aufbau des Rauchgenerators
Räuchergenerator GD-01 Versandkostenfreie Lieferung
Technische Daten
Versorgungsspannung 230V Rauchgenerator 110W Absicherung 1,25W Behältervolumen 2L Länge 366mm Breite 182mm Höhe 247mm Gewicht 1.8 kg
Rauchgenerator von vorne
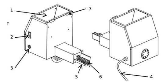
Rauchgenerator 1. Spänenschüttung 2. An und Ausschalter Brenner 3. Sicherung 4. Elektroleitung 5. Brenner (Heizspirale) 6. Spänenauswurf 7. Befestigungslaschen
Rauchgenerator GD-1 von Borniak ist auch ideal zum Nachrüsten von vorhandenen Räucheröfen geeignet. Für mehr Sicherheit und Gesundheit im Räuchergut. Eine der wichtigsten Eigenschaft des Rauchgenerators ist, dass die Räucherspäne gleichmäßig homogen verbrannt werden. Sie erhalten damit nicht nur ein Räuchergut mit sehr gutem Geschmack, wunderbarem Duft und schöner Farbe, sondern auch eine Räuchergut, dass Sie ohne gesundheitliche Bedenken verzehren können. Der spezielle Rauchgenerator ermöglicht mit den entsprechend ausgewählten Holzarten einen sauberen Betrieb zur Vermeidung von schädliche und gefährliche Stoffen, die ansonsten im Rauch vorkommen. Unser Rauchgenerator regelt deshalb die entscheidend wichtige Holzbrandtemperatur, die zwischen 470 und 550 Grad liegen muss um das entstehen von gesundheitsgefährdenden Schadstoffe zu hemmen. Der Spänebehälter hat ein Fassungsvermögen von 2 Litern, dies ermöglicht eine Räucherzeit von 7 bis 8 Stunden. Der GD-01 Raucherzeuger wird bei allen Geräten von Borniak verwendet. Durch seine flexible Konstruktion ist unser GD-01 auch für andere Räucherkammern geeignet, die eine entsprechenden Halterungen am Räucherofen bereits haben, oder dafür einfach umgebaut werden. Damit lässt sich auf sehr einfacher Weise, nahezu jeder Räucheröfen auf eine sichere gesündere Raucherzeugung umrüsten. Unser Rauchgenerator ist für Räucherkammern mit einem Volumen bis 200 Liter einsetzbar. Schadbelastung im Räuchergut Der Benzo[a]pyren-Gehalt (polycyclischer aromatischer Kohlenwasserstoff) in der Räucherware, die mit unserem Raucherzeuger geräuchert wird, beträgt nur 0,5 ug/kg. Die neuen Regelungen aus 2014 der Belastungen von polycyclischer aromatischer Kohlenwasserstoff des Räuchergutes, erlauben ein Maximum von 2 ug/kg. Den Prüfbericht dazu können Sie als PDF bei uns auf Anfrage erhalten.
Rauchgenerator bei der arbeit
Rauchgenerator GD-01 oder als GDS-01 aus Edelstahl, auch zum Nachrüsten vorhandener Räucheröfen
Kalträuchervorsatz ZW-01 als Kaltrauchgenerator Kalt räuchern wird als Beispiel gerne zur Räucherung von Fleisch angewendet. Der Rauchgenerator hat 110W und erhitzt die Garkammer alleine auf bis zu 40 °C. Solch eine Temperatur ist beim Kalträchern nicht erwünscht und deshalb bietet Borniak hierzu einen Vorsatz zum Kalträuchern , den Kalträchervorsatz ZW-01. An dem ZW-01 wird einfach an der Seite der Räuchgenerator GD-01 angeschlossen. Durch eine Verbindung mit einem Aluflexrohr zum Räucherofen, wird die für das Kalträchern benötigte reduzierte Temperatur des Rauches in die Garkammer geleitet. Die Garkammertemperatur steigt dadurch um nicht mehr als 1-2 °C als die Umgebungstemperatur an. Die Länge der Rauchzuleitung sollte zwischen 1,2-2 m betragen. Ein Aluflexrohr ist nicht bei den Lieferungen im Set enthalten, kann aber in jedem Baumarkt gekauft werden. Der Anschlussdurchmesser beträgt hierzu 100mm.
Kalträuchervorsatz ZW-01 Versandkostenfreie Lieferung Preis inkl. 19% Mwst.
Borniak Räucherofen
colomi
wenn es um Borniak geht….
Kaltraucherzeuger ZW-01 Kaltraucherzeuger mit Flexrohr Kaltraucherzeuger von oben
Raucherzeuger bei der arbeit
Rauchgenerator GD-01 oder als GDS-01 aus Edelstahl, auch zum Nachrüsten vorhandener Räucheröfen
Kaltrauchvorsatz von oben Kaltracuhvorsatz ZW-01 Kalrauchvorsatz mit Flexrohr Rauchgenerator GD-01 Aufbau des Rauchgenerators Rauchgenerator von vorne
Rauchgenerator 1. Spänenschüttung 2. An und Ausschalter Brenner 3. Sicherung 4. Elektroleitung 5. Brenner (Heizspirale) 6. Spänenauswurf 7. Befestigungslaschen
Rauchgenerator GD-1 von Borniak ist auch ideal zum Nachrüsten von vorhandenen Räucheröfen geeignet. Für mehr Sicherheit und Gesundheit im Räuchergut. Eine der wichtigsten Eigenschaft des Rauchgenerators ist, dass die Räucherspäne gleichmäßig homogen verbrannt werden. Sie erhalten damit nicht nur ein Räuchergut mit sehr gutem Geschmack, wunderbarem Duft und schöner Farbe, sondern auch eine Räuchergut, dass Sie ohne gesundheitliche Bedenken verzehren können. Der spezielle Rauchgenerator ermöglicht mit den entsprechend ausgewählten Holzarten einen sauberen Betrieb zur Vermeidung von schädliche und gefährliche Stoffen, die ansonsten im Rauch vorkommen. Unser Rauchgenerator regelt deshalb die entscheidend wichtige Holzbrandtemperatur, die zwischen 470 und 550 Grad liegen muss um das entstehen von gesundheitsgefährdenden Schadstoffe zu hemmen. Der Spänebehälter hat ein Fassungsvermögen von 2 Litern, dies ermöglicht eine Räucherzeit von 7 bis 8 Stunden. Der GD-01 Raucherzeuger wird bei allen Geräten von Borniak verwendet. Durch seine flexible Konstruktion ist unser GD-01 auch für andere Räucherkammern geeignet, die eine entsprechenden Halterungen am Räucherofen bereits haben, oder dafür einfach umgebaut werden. Damit lässt sich auf sehr einfacher Weise, nahezu jeder Räucheröfen auf eine sichere gesündere Raucherzeugung umrüsten. Unser Rauchgenerator ist für Räucherkammern mit einem Volumen bis 200 Liter einsetzbar. Schadbelastung im Räuchergut Der Benzo[a]pyren-Gehalt (polycyclischer aromatischer Kohlenwasserstoff) in der Räucherware, die mit unserem Raucherzeuger geräuchert wird, beträgt nur 0,5 ug/kg. Die neuen Regelungen aus 2014 der Belastungen von polycyclischer aromatischer Kohlenwasserstoff des Räuchergutes, erlauben ein Maximum von 2 ug/kg. Den Prüfbericht hierzu können Sie als PDF bei uns anfordern.
Technische Daten
Versorgungsspannung 230V Rauchgenerator 110W Absicherung 1,25W Behältervolumen 2L Länge 366mm Breite 182mm Höhe 247mm Gewicht 1.8 kg
09234 980983
Unser Kalträuchervorsatz ZW-01 als Kaltrauchgenerator
Bei Colomi Set‘s sind der Kalträuchervorsatz ZW-01 bereits im Set enthalten.
Kalträuchervorsatz ZW-01
Kalt räuchern wird als Beispiel gerne zur Räucherung von Fleisch angewendet. Der Rauchgenerator hat 110W und erhitzt die Garkammer alleine auf bis zu 40 °C. Solch eine Temperatur ist beim Kalträchern nicht erwünscht und deshalb bietet Borniak hierzu einen Vorsatz zum Kalträuchern , den Kalträchervorsatz ZW-01. An dem ZW-01 wird einfach an der Seite der Räuchgenerator GD-01 angeschlossen. Durch eine Verbindung mit einem Aluflexrohr zum Räucherofen, wird die für das Kalträchern benötigte reduzierte Temperatur des Rauchs in die Garkammer geleitet. Die Garkammertemperatur steigt dadurch um nicht mehr als 1-2 °C als die Umgebungstemperatur an.
wenn es um Borniak geht….
colomi
Rauchgenerator von vorne
Beratung und Bestellannahme
Versandkostenfreie Lieferung