Räucherofen im Detail Räucherofen im Detail Räucherofen im Detail Räucherofen im Detail Räucherofen im Detail Räucherofen im Detail Räucherofen im Detail
colomi
wenn es um Borniak geht….
Unser elektronische Borniak Steuerung, ist auch als Nachrüstset für alle Borniak Räucheröfen mit einfacher Thermostatsteurung erhältlich. Ältere Borniak Räuchergeräte welche bereits eine elektronische Steuerung besitzen, können auch nachträglich mit unser neuesten Steuerung hochgerüstet werden. Wir unterstützen Sie natürlich dabei.
1 2 3 4
1
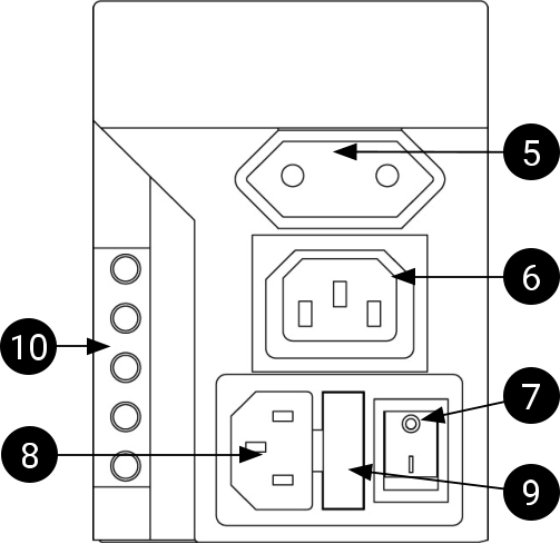
1. Trockner Ein/Aus 2. Rauchgenerator Ein/Aus 3. Display 4. Einstellknopf 5. Anschluss Trockner 6. Anschluss Rauchgenerator 7. Hauptschalter Ein/Aus 8. Anschluss Netz 220V 9. Absicherung 10. Steckerleiste zum Räucherofen
Räucherofen im Detail

Borniak elektronische Steuerung der Räucherkammer,

mit und ohne Zeitsteuerung .

Die Bedienung erfolgt einfach ohne großen Aufwand. Mit unserer neuen Steuerung entfällt aufwendiges kalibrieren, der Räucherofen ist nach dem Aufstellen aus unserer Transportverpackung sofort betriebsbereit… plug and play. Am Display wird zuerst die gewünschte Temperatur eingestellt und bestätigt. Nach der Bestätigung spingt die Anzeige um und zeigt die momentane Temperatur in der Räucherkammer an. Die Steuerung regelt die zuvor eingestellte Temperatur automatisch. Es werden Temperatur bei der UW Serie bis 120°C und bei der BB Serie bis 150°C automatisch geregelt.
Räucherofen im Detail
email
Beratung und Bestellannahme
Versandkostenfreie Lieferung
wenn es um Borniak geht….
colomi
Unser elektronische Borniak Steuerung, ist auch als Nachrüstset für alle Borniak Räucheröfen mit einfacher Thermostatsteurung erhältlich. Ältere Borniak Räuchergeräte welche bereits eine elektronische Steuerung besitzen, können auch nachträglich mit unser neuesten Steuerung hochgerüstet werden. Wir unterstützen Sie natürlich dabei.
1 2 3 4
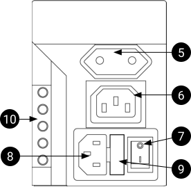
1. Trockner Ein/Aus 2. Rauchgenerator Ein/Aus 3. Display 4. Einstellknopf 5. Anschluß Trockner 6. Anschluß Rauchgenerator 7. Hauptschalter Ein/Aus 8. Anschluß Netz 220V 9. Absicherung 10. Steckerleiste zum Räucherofen
Räucherofen im Detail

Die elektronische Steuerungen der Räucherkammer

Die Bedienung erfolgt einfach ohne großen Aufwand. Mit unserer neuen Steuerung entfällt aufwendiges kalibrieren, der Räucherofen ist nach dem Aufstellen aus unserer Transportverpackung sofort betriebsbereit… plug and play. Am Display wird zuerst die gewünschte Temperatur eingestellt und bestätigt. Nach der Bestätigung spingt die Anzeige um und zeigt die momentane Temperatur in der Räucherkammer an. Die Steuerung regelt die zuvor eingestellte Temperatur automatisch. Es werden Temperatur bei der UW Serie bis 120°C und bei der BB Serie bis 150°C automatisch geregelt.
email
Beratung und Bestellannahme
Versandkostenfreie Lieferung
Räucherofen im Detail